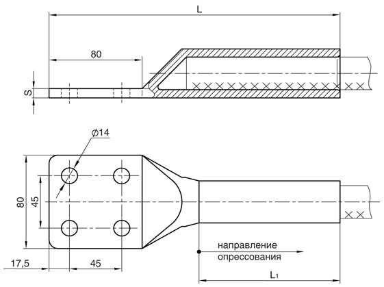
Зажимы аппаратные прессуемые типа А4М

Зажимы аппаратные прессуемые типа А4М