Автоматика
Купити Агрегат для перевезення води АПВ - 3, ці...
Агрегат для перевозки воды АПВ 3 (Емкость 3 куб...
1. Автоматическое повторное включение, общие по...
Купить АПВ 4 исп.1 (старое обозначение АПВ 4-12...
Автоматическое повторное включение (АПВ) - през...
Кабель АПвПу 3х95/50 - 10кВ — Цены, диаметр, ве...
Автоматика электроэнергетических систем - презе...
Устройства АПВ и АВР фидеров СЦБ ВЫПОЛНИЛ СТУДЕНТ
Агрегат для перевозки воды АПВ-3
Апв однократного действия с пуском от несоответ...
2.1. Трёхфазное апв однократного действия.
2.3 Устройства многократного апв.
Апв кабель расшифровка. апв провод
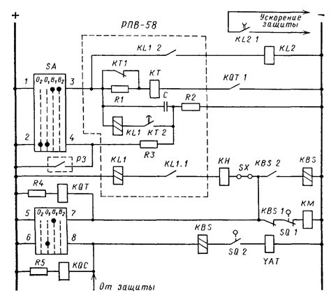
1.2.1. Схема управления ячейки фидера 3,3 кВ
Линейная автоматика
2.2. Классификация устройств апв. Основные треб...
3.2. Требования к апв
Раздел 9. Автоматика систем электроснабжения
7. Трёхфазное апв трансформаторов, шин, двигате...
Презентация на тему: "Автоматическое повторное ...
Прицеп бочка для воды. Купить бочку для воды на...
Релейная защита и автоматизация ЭЭС - презентац...
3. Назначение и виды апв
Исследование АПВ линии с односторонним питанием
2.3. Механические устройства апв.
Как работают устройства автоматики повторного в...
Продам агрегат для перевозки воды АПВ-3, АПВ-6,...
Агрегат для перевозки воды АПВ-3 — Agro-Ukraine
Автоматическое повторное включение, общие полож...