autowild
Как работает vvti: Система Toyota VVT-i
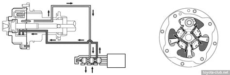
Toyota Variable Valve Timing. VVT-i (gen.III)
VVT - Беспроводной датчик температуры
Что такое система Vvt
Купить Датчик VVT-i Nissan Wingroad WHNY11, QG1...
Vvti что это такое: Dual VVT-i с системой VVT-iW
Системы изменения фаз газораспределения двигате...
Hoe de sensor met variabele kleptiming (VVT) ve...
Toyota Variable Valve Timing. VVT-i (gen.IV)
Что такое система Vvt I в двигателе
Система VVT-i Toyota
Купить Датчик vvt-i Honda FIT во Владивостоке п...
Standard Motor Products VVT1 Vvt Sensor | Autop...
Начало - ВВТ Инженеринг ЕООД
Датчик VVT-I. Toyota 1KR 15330-40020 купить | А...
Купить Датчик vvt-i Nissan Liberty [000027518] ...
Что означает надпись vvt на двигателе
Система vvt что это такое: Dual VVT-i с системо...
VVT-i: что это за система на Toyota, как работа...
TPSshop: 4AGE 20v BT VVT Sensor
Что такое система vvt i в двигателе
Schlechtes VVT-Magnetventil (Variable Valve Tim...
Клапан VVT-i или датчик фаз: как устроен и прин...
VVT SENSOR FOR 1.4 16V – ASAP Spares
Dual vvt i что это такое? | Autoline-eu.ru авто...
Датчик vvt-i купить во Владивостоке по цене: 1 ...