Юпитер другие названия планеты: Юпитер — гигант...
Юпитер - презентация, доклад, проект скачать
Планета, космос, юпитер обои для рабочего стола...
Планета Юпитер — история открытия, исследования...
Планета юпитер - интересные факты
Охранная сигнализация рио "Юпитер" купить в Пер...
Космическая красота: NASA показало яркие снимки...
Рио (мультфильм, 2011) — актеры, трейлер, фото
Rio Wallpaper | Jupiter 10
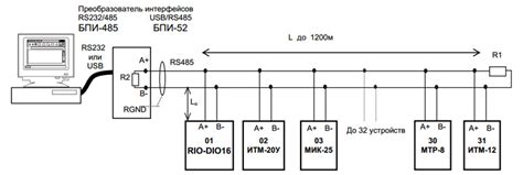
Рио м юпитер схема подключения - 80 фото
Рио м юпитер схема подключения - Фото подборки 3
NASA показало впечатляющие снимки Юпитера, сдел...
Юпитер самая большая планета Окружающий мир
Элеста рио Юпитер | Festima.Ru - Мониторинг объ...
Планета Юпитер - солнечная система
Спутник NASA показал поверхность Юпитера крупны...
Как Юпитер мог стать вторым Солнцем | МИР НАУКИ...
К Земле движется зелёный шар размером с Юпитер ...
12 интересных фактов о Юпитере
Просто про складне. Дивовижні факти про Юпітер
Планета нашей Солнечной системы Юпитер - Живой ...
Денят на Юпитер – EnjoyLife.bg
Фотоаппарат Мир + Юпитер-8 | Festima.Ru - Монит...
Юпитер в конце сентября максимально приблизится...
Мир + Юпитер-8 в упаковке купить в Москве с дос...
Уоо юпитер 3gsm инструкция