Регулятор напряжения (3-х уровневый) — Lada 211...
Регулятор напряжения 3-х уровневый для ВАЗ-2108...
Инженеры часто сталкиваются с трудными компроми...
Низкое напряжение генератора? - 3-х уровневый (...
Регулятор напряжения 2108 Энергомаш 67.3702-01 ...
Регулятор напряжения УАЗ, ГАЗ, ВАЗ (3-х уровнев...
3 — х уровневый регулятор напряжения — Lada 210...
3.3 Апаратура, обладнання та матеріали
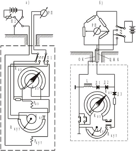
Интегральный (и) регулятор (рис.III.3)
Регулятор напряжения интегральный УАЗ 67.3702-0...
Регулятор напряжения.3-Х УРОВНЕВЫЙ РЕГУЛЯТОР.Че...
3-х уровневый регулятор напряжения на приоро ге...
Как подключить 3х уровневый регулятор напряжени...
Регулятор напряжения, силы тока и мощности для ...
3-Х Фазный Тиристорный Регулятор. - Регуляторы ...
Регулятор напряжения 3-х уровневый — Lada 21074...
Регулятор напряжения 3-х уровневый 67.3702-02 -...
Регулятор напряжения 3-х уровневый для ВАЗ-2110...
Регулятор напряжения 3-х уровневый 67.3702-02 д...
3-х уровневый регулятор напряжения — Lada 2114,...
ПЛАВНАЯ РЕГУЛЕРОВКА 3-Х УРОВНЕГО РЕЛЕ НАПРЯЖЕНИ...
МОЩНЫЙ РЕГУЛЯТОР НАПРЯЖЕНИЯ - YouTube
Regulador de tensão de aumento de 3,3 V U3V16F3...
Сигнализация, монтажный блок (ЧЯ) и 3-х уровнев...
Купить Интегральный регулятор напряжения 3-х ур...
Регулятор напряжения
Тэны, Регуляторы мощности, Индукционные плиты :...
Купить Регулятор напряжения 3-х уровневый (реле...
поставил БСЗ и 3-х уровневый регулятор напряжен...
3-х уровневый регулятор напряжения — Lada 2113,...
Прикупил 3-х уровневый регулятор напряжения — L...
Регулятор напряжения ВАЗ, ГАЗ 54.3702-02 3-х ур...
Трехуровневый регулятор напряжения схема - 94 фото
Регулятор напряжения 3-х уровневый ВАЗ, ГАЗ, УА...