Коллекция Бриз
Бриз — обзор бренда, продукция
Бриз
Бриз Болид купить в Одинцово | Товары для дома ...
Бриз Болид Инструкция - showcaseprogrammy
Браулифт (повдигане на вежди)
Купить БРИЗ | Альбапром
Бриз - презентация онлайн
Болид БРИЗ исп.03 728-233-042 блок разветвитель...
Почему не люблю бриться! | Пикабу
Болид бриз | Festima.Ru - Мониторинг объявлений
Бриз купить – цена от 350
Бриз - YouTube
Изолятор болид
Бриз Болид Инструкция - accuseportable
Болид БРИЗ 129-177-867 Блок разветвительно-изол...
Блок разветвительно-изолирующий Болид БРИЗ-Т
"Балтийский Бриз 3" - Bodybuilding Illustrated
Схема подключения ар2 болид - Схемы
Бриз болид цена — купить по низкой цене на Янде...
» Бриз
Блок разветвительно-изолирующий БРИЗ исполнение...
Что такое болид?
Блок разветвительно-изолирующий взрывозащищенны...
Болид Бриз|Блок разветвительно-изолирующий Боли...
Болид — купить товары Болид в интернет-магазине...
Болид бриз | АЙ ТИ КЭЙР ХХК
Болид бриз | РИЙЛСОФТ ХХК
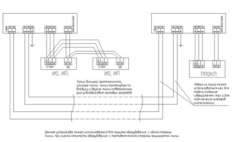
Подключение бриз болид схема подключения - Фото...
Бриз болид схема подключения - 85 фото
Болид: БРИЗ исп.01 блок разветвительно-изолирую...
БРИЗ ОКАЗАЛСЯ СЛОЖНЫМ НА ПРЕМЬЕРЕ 😫 - YouTube