Сафир Глобал Саммит Дубай 2022.Командное видео!...
Сапфир
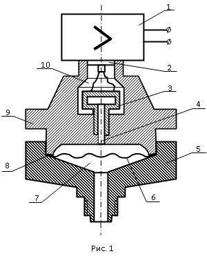
Назначение, устройство ип Сапфир 22-дд
Сапфир - YouTube
Измерительные преобразователи Сапфир 22 ДИ - Yo...
Преобразователь Сапфир-22ДД - презентация онлайн
Купить натуральный разноцветный сапфир в Москве...
1.12. Устройство и принцип действия датчика дав...
4.2. Устройство и принцип действия измерительно...
Новые функции САПФИР 2022 для работы с проектом...
Металочерепиця Сапфір - Прикарпат Дах
Ламиниран паркет 4535 Дъб Сапфир Camsan Ламинат
Сапфир 22 Мод ДД - YouTube
Сапфир - Amodoria
Самый дорогой сапфир.. Минералы. Новости о мине...
Сапфир: особенности камня | Ювелирное дело
Собрание сапфир (81 фото)
Сапфир 22 серия. Новый турецкий сериал. Анонс -...
Новые инструменты аналитической модели в САПФИР...
Sapfir-22
преобразователь измерительный давления САПФИР-2...
Диффузионный сапфир (77 фото)
Анонс и рекламный блок (Сапфир | 03.10.2022 г.)...
1 Цель работы
Сапфир - Как да определим неговото качество? - ...
Начало вещание Сапфир (01.10.2022) - YouTube
🔥Распаковка находок БАРАХОЛКА Германия - #22 Ко...