Ремонтный чертеж и карта восстановления толкате...
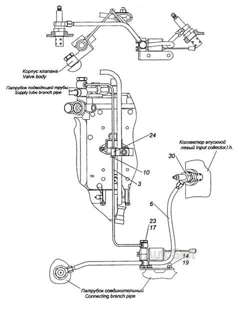
7406.1022800 Установка электромагнитного клапан...
Клапан КАМАЗ 740 впускной (2шт) АМЗ купить в Лу...
Манжета клапана (к-т 8шт) синий силикон (сальни...
Технологический процесс восстановления клапана ...
Коромисло клапана КАМАЗ у зборі 740.1007140: пр...
Толкатель клапана КАМАЗ (ОАО КАМАЗ) - 740.10071...
Как притереть клапана ГБЦ дизеля 740 Камаз
Направляющая втулка клапана Камаз К330020506 74...
Купить Клапан КАМАЗ 740 впускной (1 шт) АМЗ, це...
Установка электромагнитного клапана КамАЗ-740.1...
Толкатель клапана двигателя КамАЗ-740 | Скачать...
740.1007184-03 Толкатель клапана 740-1007184-03...
Сборка двигателя камаз 740 своими руками
Сальник клапана Камаз силикон. зелен. 740-10072...
Втулка клапана КАМАЗ впуск. и выпуск. направляю...
740-1003110 Седло выпускного клапана КамАЗ 740-...
Манжета клапана (к-т 8шт) белый силикон (сальни...
Манжета клапана (к-т 8шт) зелений силікон (саль...
740.1007032-03 Втулка направляющая клапана КамА...
Клапан КАМАЗ-ЕВРО топливный (ОАО КАМАЗ) - 740.2...
Купить Сальник клапана КАМАЗ комплект 8 шт / 74...
Седло клапана выпускного КамАЗ 740.1003110 - ку...
Втулка клапана направляющая КАМАЗ 740.1007032 1...
740-1007184-03, 740100718403, 740 1007184 03 То...
Коромысло клапана КамАз 740 - Чертежи, 3D Модел...