Групповые коммутационные аппараты, Реверсивные ...
Тормозная система автомобиля: как работает и ка...
РЕВЕРСОРЫ, ТОРМОЗНЫЕ ПЕРЕКЛЮЧАТЕЛИ, РЕЖИМНЫЕ и ...
Групповые реостатные контроллеры, переключатели...
1 пара, переключатель тормозов для шоссейного в...
Реверсивно-тормозные переключатели пкд-25а и 1п...
Реверсивные и тормозные переключатели ЭПС - Кон...
Реверсор РК-022Т - Реверсор рк022Т, тормозной п...
Переключатель кулачковый двухпозиционный пкд 15а
Дорогие тормозные переключатели из Китая купить...
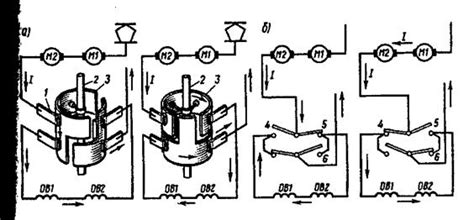
Реверсор рк-022т и тормозные переключатели тк-3...
Реверсор РК-022Т и тормозные переключатели ТК-3...
Тормозные рычаги-переключатели комбинированные ...
ЛОГИЧЕСКИЕ СХЕМЫ ВЛ85 - "Официальный сайт отдел...
Переключатели +тормозные ручки (левый/правый), ...
Саратовское подразделение Приволжского учебного...
Реверсоры, тормозные переключатели, переключате...
Тормозные ручки shimano,переключатели, Б/у купи...