Триммер электрический Black & Decker BCSTA536B-...
Триммеры Black Decker (Блэк Деккер), модели — и...
Электрический триммер Black&Decker BESTA525
Обзор лучших триммеров
Триммер электрический Black & Decker ST1823-QW ...
Электрический триммер Black+Decker BESTA530 - в...
Триммер электрический Black&Decker GL360 - «Удо...
Электрический триммер Black Decker GL 350 - выг...
ЭЛЕКТРИЧЕСКИЕ ТРИММЕРЫ BOSCH, VIKING, BLACK&DEC...
Электрический триммер Black&Decker BESTA525 куп...
Триммер электрический BLACK+DECKER BESTA530-QS ...
Триммер Black+Decker GL 310 - выгодная цена, от...
Электрический триммер Black+Decker 350W string ...
Триммер электрический Black & Decker GL360SB-QS...
Триммер электрический Black & Decker GL7033-QS ...
Электрический триммер Black+Decker BESTA525 - в...
Электрический триммер Black Decker GL 701 - выг...
Триммер аккумуляторный Black & Decker ST1823-RK...
Электро триммеры для травы купить в Киеве: цена...
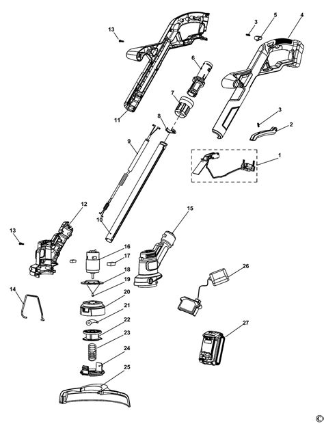
Как разобрать триммер электрический для травы
Триммер электрический Black&Decker (BESTA525) -...
Триммер электрический Black&Decker GL360 - «Иде...
Триммер электрический BLACK+DECKER GL360SB (GL3...
Электрический триммер Black+Decker BESTE630 - в...
Триммер высоты